找回密碼
 立即註冊
搜索
樓主: VR2GY

CTCSS 啞音TONE DIY(點止38個咁簡單)

[複製鏈接]
 樓主| 發表於 16-2-2008 00:54:35 | 顯示全部樓層
 樓主| 發表於 18-2-2008 01:07:52 | 顯示全部樓層
 樓主| 發表於 20-2-2008 16:50:59 | 顯示全部樓層
 樓主| 發表於 24-2-2008 00:51:47 | 顯示全部樓層
 樓主| 發表於 25-2-2008 16:05:58 | 顯示全部樓層
 樓主| 發表於 26-2-2008 01:14:29 | 顯示全部樓層
 樓主| 發表於 17-3-2008 01:20:14 | 顯示全部樓層
Basic OpAmp Design
Many newcomers into electronics, especially those in thedigital world, are often intimidated by opamps (operational amplifiers). Theyare quite simple but most explanations on how they work confuse the hobbyist. Iwill try to skip the theory and provide simple working circuits for you toapply right away.

Opamps are easy to design withas long as you follow some basic rules and understand how they operate. I won'tgo into all the theory of opamps, just the basics. There are other web sitessuch as Williamson Labsthat will cover the fundamentals. The basic characteristics are as follows:
1) Assume the output impedanceas almost zero.
2) Assume the - input impedanceas almost zero.
3) Assume the + input impedanceas almost infinite.
4) The gain is programmable bythe feedback resistor, the resistor from the output pin to the negative inputpin,  from zero to infinite depending on the device.
5) An opamp can amplify AC orDC voltages, or both.
Most opamp designs require abipolar power supply (plus and minus voltage) unless you offset the input tothink it is operating on a bipolar supply. This will be explained later.
Let's take the circuit inFigure 17. It is a basic inverting DC opamp configuration using a positive andnegative power supply. (This circuit will also respond to AC also. AC circuitscan contain DC blocking capacitors to keep the opamp operating within DCparameters but will roll off low frequencies depending on values and will notrespond to DC. AC amplifiers will be discussed later.) For the purpose of this example let's say the power supply voltages are +/- 15 volts. A basiccircuit uses two resistors. An input resistor (Rin) and a feedback resistor(Rf). In this example both resistors will be 10K ohms.

file:///C:/DOCUME%7E1/GY/LOCALS%7E1/Temp/msohtml1/01/clip_image001.gif
Figure 17

If you were to build thiscircuit and ground the input (0 volts), you will see 0 volts on the output. Ifyou place +1 volts on the input, you will get -1 volt on the output. If youplace -1 volts on the input, the output will be +1 volt. Why? Look at theformula in Figure 18 below.

file:///C:/DOCUME%7E1/GY/LOCALS%7E1/Temp/msohtml1/01/clip_image002.gif
Figure 18

Voltage gain (inverting) equalsthe value of the feedback resistor divided by the value of the input resistorfor a gain of one, or unity. No gain, but an identical inverse of the input. Ifyou varied the input voltage from +1 to -1 volts you will see the output swing from-1 to +1 volts. This could also be referred to as a linear amplifier because ittracks what ever voltage is on the input to the output in a linear fashion,only inverted. So what? Well, you have a unity gain inverting amplifier. Whatcould this be used for? You have an input impedance of 10K ohms and an outputimpedance of almost zero ohms. Enough to provide drive for the next circuit orcircuits. This could also be called an inverting buffer. How do you get 10Kohms input impedance? Remember, the inverting input, pin 2 is virtually zeroohms, so the input resistor (resistance) becomes the input impedance. What kindof gain would you have if both the feedback and input resistors were 220K? Thesame gain, only you have an input impedance of 220K ohms. Much less of a loadso your input circuit won't "swamp" or load the preceding circuit.
Ok, let's make this thingactually amplify. Change the feedback resistor to 100K ohms while leaving theinput resistor at 10K. Vary the input voltage to +1 volts. Now the outputswings to -10 volts. Sweep the voltage all the way to -1 volts and you will seethe output track all the way to +10 volts. This smooth output transition from-10 to +10 from a +1 to -1 input is why this circuit is also called a linearamplifier, because the output reflects the input times 10 only inverted. Theformula for seeing a gain of ten is in Figure 19.

file:///C:/DOCUME%7E1/GY/LOCALS%7E1/Temp/msohtml1/01/clip_image003.gif
Figure 19

So from this basic circuit youcan see how you can select different resistors to get different amounts ofgain. Just remember, your output swing will never exceed the power supplyvoltages (or rails) and actually a volt or two less than each rail for a basicopamp in this demonstration. Raise the input voltage to +2 volts and measurethe output and you will see that it rests somewhere around -12 to -13 volts.This is the "rail" or the lowest possible output voltage for thegiven +/- 15 volts. It also may be referred to as saturation of the opamp. Someopamps are called rail-to-rail opamps and they come closer to the actual powersupply voltage. Almost 0.3 volts from the power supply voltage.


Next we will study thenon-inverting opamp circuit. Figure 21 shows a simple non-inverting DC opampcircuit. For purposes of demonstration, the feedback resistor will be 100K ohmsand the input resistors are 10K ohms.

file:///C:/DOCUME%7E1/GY/LOCALS%7E1/Temp/msohtml1/01/clip_image004.gif
Figure 21

Putting +1.0 volts on the inputwill give +11 volts on the output. Putting -1.0 volts on the input will give-11 volts on the output.

file:///C:/DOCUME%7E1/GY/LOCALS%7E1/Temp/msohtml1/01/clip_image005.gif
Figure 22

Using the formula in Figure 22,we get a gain of 11 or eleven times the input. This can be used as a DC or ACamplifier. What if we wanted a gain of ten? Change the feedback resistor to 90Kohms. What if we wanted it to be exactly unity gain? Remove the resistor toground. The feedback resistor can be any value. Look at Figure 23. How about again of 100? Use a 990k feedback resistor. However, you are asking for a lot ofgain from the opamp. Don't forget, that's a lot of amplification. 1 volt on theinput in theory will give you 100 volts on the output but that cannot happenbecause the power supply rails only supply 15 volts. So, you will"saturate" the opamp and it will slam up against the rail atsomewhere around 13 volts. But, if you are amplifying a very small voltage suchas 10 millivolts (0.01 volts), you will get 1 volt output. Remember, the gainnumber is the same as the multiplication factor. 0.01 X 100 = 1.

Use my opamp calculatorto calculate your resistor values.

What other advantages does thiscircuit have? It is a true buffer. A buffer is a circuit that will duplicatethe input voltage but provides drive. This is important if you have a highimpedance circuit and you need to drive a low impedance load or many loads.Remember, the + input to the opamp is already a high impedance input. Thus, theinput resistor is almost irrelevant with the exception of possible protectionof the input to the opamp. Remember also that the output impedance is very low.Theoretically zero ohms but usually around 47 ohms depending upon the deviceyou are using.
A buffer can also be called a"follower". It mimics the input with a low impedance output drive.The following circuit in Figure 23 is what is referred to as a follower.

file:///C:/DOCUME%7E1/GY/LOCALS%7E1/Temp/msohtml1/01/clip_image006.gif
Figure 23

The input resistor can bealmost any value since the input impedance is almost infinite or can sometimesbe omitted. What ever the input sees, it will duplicate it on the output. Thiscan provide extra drive for another circuit without loading the input circuit.The feedback in this circuit is a short. It can be a resistor of almost anyvalue as long as there isn't any other resistor on the minus input.


Let's talk about AC opampdesigns.
AC circuits are typically usedin audio amplification. Also mixing of signals, distributing audio, andprocessing audio. You don't really want to use a DC amplifier unless you knowexactly what you are doing. DC circuits have their place in high quality audioamplifications but you must remember that the output will follow the inputprecisely. This is not an advantage for most applications. Input circuits ofunknown DC potential can and will offset the amplifier and possible render ituseless or drawing excess current. Especially if driving a speaker or headphones.
Figure 24 is a typical ACcoupled opamp circuit used to amplify a weak signal.

file:///C:/DOCUME%7E1/GY/LOCALS%7E1/Temp/msohtml1/01/clip_image007.gif
Figure 24

The above circuit has a gain of100. With an AC signal of 5 millivolts (0.05 volts), you will see a outputswing of +/- 5 volts. This circuit is typically used in the audio frequencyrange. The determining factor is the device itself which can amplify up to 1megahertz but the gain will decrease at higher frequencies. You will have tostudy the data sheets for the device you will be using in order to determinehigh frequency gain. The capacitors will determine the low frequency cut-off.In some circumstances you could leave the capacitors out and the circuit willfunction down to DC. As you can see, the two capacitors are polarized. Thepositive leads are shown to be pointing towards the device. Since this uses abi-polar power supply, the voltage potential is sitting at zero volts. Becauseof this, the capacitors can be placed either way as long as the input andoutput are referenced to ground. Also, R4 is not needed in most applicationsusing a bi-polar power supply. The + input can be tied directly to ground.
Hint: When troubleshooting theopamp, placing a voltmeter on any inputs or outputs will show zero volts ifthere is no signal present. Any voltages other than zero means the circuit isnot connected right or the opamp is defective.


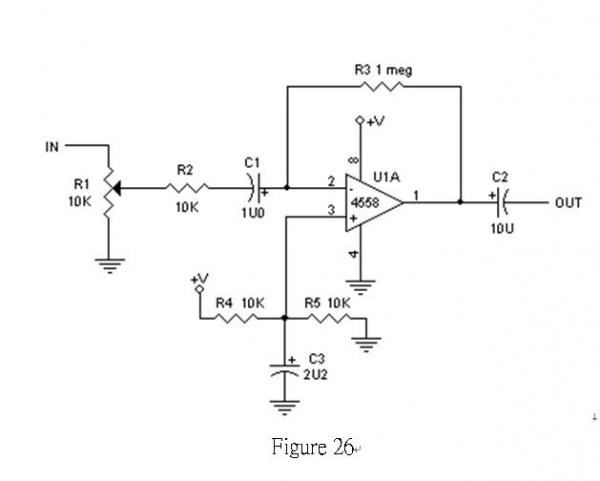
Since bi-polar power suppliesaren't always available, you can operate this same circuit from a single endedpower supply. All that is necessary is that the -V pin is tied to ground andthe + input is "biased" to half the power supply voltage. Of courseyou must realize that in order to keep the same headroom, you will have todouble the positive supply. In most cases this isn't necessary especially ifworking with small signals. Also the two capacitors, C1 and C2, must be presentin order to keep the opamp stable and operating in its linear region. Figure 26shows how to connect the same circuit with a single power supply.

file:///C:/DOCUME%7E1/GY/LOCALS%7E1/Temp/msohtml1/01/clip_image008.gif
Figure 26

You can bias the + input bybuilding a voltage divider, filtering it, and applying the 1/2 voltage to the +input. C3 is not a critical value. Neither is R4 and R5. They can be as high as100K
Hint: When troubleshooting thiscircuit, both inputs and the output will be idling at 1/2 the power supplyvoltage with no signal present. Any voltage other than 1/2 the supply means thecircuit is not wired properly or the opamp is defective. Example. If you areusing a 12 volt supply, the DC voltage on pins 1, 2, and 3 must be 6 volts.


Frequency response - the usablebandwidth of the circuit. This is usually the 3db point. An example is inFigure 26, R2 and C1. The impedance is 10K ohms and the capacitance is 1uf.Using the formula f=1/(2Pi*(R*C)), the usable low frequency is down to16 HZ.


An opamp can also be used as abias generator (or reference) for providing 1/2 the power supply voltage forother opamps on the same board using a single ended (uni-polar) power supply.Figure 28 shows the circuit.

file:///C:/DOCUME%7E1/GY/LOCALS%7E1/Temp/msohtml1/01/clip_image009.gif
Figure 28

Since the + input is a highimpedance input, the values of R1 and R2 can be almost any value as long asthey are the same value. The arbitrary values of 47K will not provide anoticeable drain on the power supply.  Depending on noise and stability,it may be necessary to place a small capacitor (U10) from the + input to groundbut it is not mandatory. In Figure 28, if the +V is 24 volts, the output willbe +12 volts. If the +V is 5 volts, the output will be +2.5 volts. To turn thiscircuit into a power regulator, replace R2 with a zener and R1 with anappropriate value, and the output of the opamp will provide a bufferedregulated voltage source.


What device should I use? Itdepends on what you want to use it for. For most applications, general purposeopamps can be used. The most common is the 4558 or 1458 (DigiKey MC1458P $0.40ea, Jameco $0.29ea) which is a dual opamp in one 8pin dip package, also available in 8-SOIC surface mount package. The oldstandard is the 741 which is a single opamp in an 8 pin dip package. Somedevices also have pins for compensation or offset control but for mostapplications, they are not required. A low noise high performance device is the5532 (DigiKey NE5532P $0.80ea, Jameco $0.49ea). Same pinout as the 4558.However, since it is high performance with excellent high frequency response,you will have to roll of the high frequency with a 33PF feedback capacitoracross the feedback resistor.  Most opamps use the same pinouts. There arealso quad opamps like the 324 (DigiKey LM324N $0.49ea, Jameco $0.26ea) and theNorton current mirror opamp like the 3900 (DigiKey LM3900N $0.90ea, Jameco$0.77ea). Opamps can be used in may applications like integrators, comparators,oscillators, filters, mixers, etc.
4558-01.jpg
您需要登錄後才可以回帖 登錄 | 立即註冊

本版積分規則

中華業餘無線電研究會 - 業餘無線電考試(筆試)班

手機版|小黑屋|存檔|VR2GY 網站

GMT+8, 18-4-2026 09:59 , Processed in 0.495319 second(s), 18 queries , Gzip On.

本討論區基於 Discuz! X3.5

版權所有 © 2005-2026 VR2GY.com,保留一切權利


重要聲明:本討論區是以即時上載留言的方式運作,VR2GY.com 對所有留言的真實性、完整性及立場等,不負任何法律責任。而一切留言之言論只代表留言者個人意見,並非本網站之立場,讀者及用戶不應信賴內容,並應自行判斷內容之真實性。於有關情形下,讀者及用戶應尋求專業意見(如涉及醫療、法律或投資等問題)。 由於本討論區受到「即時上載留言」運作方式所規限,故不能完全監察所有留言,若讀者及用戶發現有留言出現問題,請聯絡我們。VR2GY.com 有權刪除任何留言及拒絕任何人士上載留言(刪除前或不會作事先警告及通知),同時亦有不刪除留言的權利,如有任何爭議,管理員擁有最終的詮釋權。用戶切勿撰寫粗言穢語、誹謗、渲染色情暴力或人身攻擊的言論,敬請自律。本網站保留一切法律權利。

快速回復 返回頂部 返回列表